moteur à courant continu - réseau triphasé - onduleur

d'après bac Sti électrotechnique France 2004


 




Google





moteur à courant continu :

On étudie un moteur à courant continu, son alimentation et le système qui assure la régulation de sa vitesse.

L'intensité d'excitation du moteur est maintenue constante. Le constructeur donne le point de fonctionnement suivant :

- tension d'induit : U = 260 V ; - intensité d'induit : I = 17,5 A ;- fréquence de rotation : n = 1600 tr/min.

La résistance de l'induit est R = 1,73 W .

  1. Calculer la force électromotrice (f.é.m.) E pour le fonctionnement donné.
  2. A intensité du courant d'excitation constante, la f.é.m. E est proportionnelle à la fréquence de rotation. Montrer que E = 0,144.n (avec n en tr/min).
  3. Déterminer la fréquence de rotation pour U = 160 V et I = 12,0 A.

Effet d'une variation de la charge

La tension U gardant la valeur de 160 V, l'intensité I du courant traversant l'induit devient égale à 17,5 A à la suite d'une augmentation de charge du moteur.

  1. Calculer la nouvelle valeur de la fréquence de rotation n.
  2. Après cette augmentation de l'intensité I, comment faut-il agir sur la tension U pour retrouver la valeur initiale de n ?

Alimentation du moteur

Le circuit d'alimentation (redresseur commandé) de l'induit est représenté :

 

Grâce à la bobine, l'intensité I et la tension U de l'induit sont constantes. On visualise les grandeurs v et iA sur un oscilloscope en utilisant une sonde de tension différentielle de rapport 1/200 et une pince de courant de sensibilité 100 mV/A. L'oscillogramme obtenu est donné :

 

  1. Le redresseur commandé est-il un pont tout thyristor ou un pont mixte ? Justifier en s'appuyant sur l'une des courbes de l'oscillogramme.
  2. Déterminer la valeur efficace V de la tension v.
  3. Déterminer la valeur maximale îA de l'intensité iA et en déduire que l'intensité I est égale à 12 A.

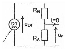
Dynamo tachymétrique

Le moteur entraîne une dynamo tachymétrique qui est munie de deux résistances. Quand la fréquence de rotation n est égale à 1 000 tr/min, la tension uDT vaut 60,0 V.

 

  1. Quel est le rôle de la dynamo tachymétrique ?
  2. Donner l'expression de la tension un en fonction de uDT, RA et RB.
  3. RA = 10,0 kW . Calculer RB de façon à obtenir un égale à 10,0 V quand la fréquence de rotation vaut 1 000 tr/min.

Régulation de la vitesse du moteur

La figure montre la structure du système qui assure la régulation de la vitesse du moteur. La chaîne d'action est telle que : U = 457uER et un = 0,01 n avec n en tr/min. On fixe uc= 10,0 V.

  1. Dans cette structure, de quoi est constituée la chaîne directe ? La chaîne de retour ?
  2. Donner l'expression de UER en fonction de la tension de consigne uc et de un.
  3. Pour un premier fonctionnement à I = 12 A, on obtient n = 965 tr/min. Calculer un, uER et U.
  4. A la suite d'une augmentation de la charge du moteur, identique à celle de la question II ( I = 17,5 A), la fréquence de rotation du moteur diminue légèrement : n = 963 tr/min. Quel est l'intérêt du système ?

corrigé
U = E + RI soit E = U - RI = 260 - 1,73 *17,5 =
230 V.

E étant proportionnelle à la fréquence de rotation : E = k n soit k =E/n = 230/1600= 0,144 V.tr-1.min.

Si I = 12 A et U = 160 V , alors : E = U - RI = 160 - 1,73* 12 = 139 V.

or n =E / k = 139/ 0,144 = 965 tr/min. 

Effet d'une variation de la charge :

Si I = 17,5 A et U = 160 V alors E = U - RI = 160 - 1,73* 17,5 = 130 V.

n =E/k= (U-RI) /k

Pour retrouver la vitesse initiale n, il faut que E augmente : donc augmenter U car I est constante.


 Alimentation du moteur : 

Le redresseur commandé utilisé est un pont mixte : on reconnaît sur la courbe représentant de ia (voie Y2) des phases de roue libre (ia = 0) qui n'existent pas avec un pont tout thyristor. 

Lecture graphe, Vmax = 3,4 *0,5* 200 = 340 V (voie Y1).

Or pour une tension sinusoïdale, V eff=Vmax / 1,414 = 340/1,414= 240 V. 

Soit îa la valeur maximale de l'intensité iA.

îa = 2,4*0,5 / (100 10-3) = 12 A (pince de courant 100 mV/A).

En phase d'alimentation, le courant ia prend les valeurs + I ou - I. soit +12 ou -12 A 

Dynamo tachymétrique :

Une dynamo tachymétrique est un dispositif délivrant une tension proportionnelle à la fréquence de rotation du moteur. Associée à un voltmètre, elle permet donc de mesurer la fréquence de rotation du moteur. 

On reconnaît la structure "pont diviseur de tension" donc

uN= RA / (RA+RB)uDT  

si n = 1000 tr/min, alors uDT = 60,0 V. 

uN(RA+RB)= RA uDT   ; RB= RA(uDT- uN ) /uN

 RB= 104 (60-10)/10 = 5 104 ohms.

Régulation de la vitesse du moteur 

La chaîne directe est constituée de la commande, du redresseur et du moteur.

La chaîne de retour est constituée de la dynamo tachymétrique et des résistances. 

UER est la sortie de l'opérateur différentiel donc UER = UC - UN .

si n = 965 tr/min, alors : uDT= 965*60/1000 = 58 V.

et uN= RA / (RA+RB)uDT  = 104 / ((1+5)104)*58 = 9,66 V

de plus : UER= UC-UN= 10-9,66 = 0,34 V

U = 457 UER donc U = 457 * 0,34 = 160 V.

A la suite d'une augmentation de la charge (I = 17,5 A), la fréquence de rotation du moteur, non régulée, passait de 965 à 903 tr/min.

Avec un système de régulation de la vitesse, la vitesse ne passe que de 965 à 963 tr/min.

Le système permet donc de maintenir la vitesse du moteur proche de la valeur souhaitée, celle déterminée par la tension UC.

Le système régulé est moins sensible à une variation de charge.

 





Réseau triphasé

Dans un premier temps, le moteur asynchrone étudié est alimenté directement par un réseau triphasé sinusoïdal équilibré de fréquence 50 Hz. Le moteur non couplé et le réseau sont représentés sur la figure :

Le voltmètre 1 indique 415 V en mode AC.

  1. Déterminer la valeur indiquée par le voltmètre 2 en mode AC.
  2. Quelles sont les indications des deux voltmètres en mode DC ? Expliquer. Compléter la figure avec les connexions nécessaires pour coupler le moteur asynchrone en étoile sans raccord au neutre.
  3. Exprimer la tension u12 en fonction des tensions simples v1 et v2.
  4. La tension v1 est en avance sur la tension v2, compléter la figure en traçant les vecteurs de Fresnel associés aux tensions v2, v3 et u12.

Exploitation des données du constructeur

Le constructeur indique que le moteur comporte 6 pôles. Il donne également les valeurs suivantes pour le fonctionnement nominal sur un réseau 415 V - 50 Hz : puissance utile : PUN = 3 kW, fréquence de rotation : nN = 950 tr/min, intensité : IN = 7,1 A, facteur de puissance : k = 0,75

  1. Quelle est la fréquence de synchronisme ns du moteur ?
  2. Calculer pour le fonctionnement nominal :a) la puissance reçue : PaN ; b) le rendement : h N ; c) le moment du couple utile : TuN ; d) le glissement : gN.

Bilan des puissances

Une étude expérimentale a permis de déterminer les grandeurs suivantes :
- résistance d'un enroulement du stator : rs = 2,50 W ; - pertes fer: pfs = 210 W; - puissance reçue au fonctionnement nominal : PaN = 3,83 kW.Calculer pour le fonctionnement nominal, le stator étant couplé en étoile :
- les pertes par effet Joule Pjs au stator ;
- la puissance transmise Ptr au rotor ;
- les pertes par effet Joule Pjr au rotor ;
- les pertes mécaniques Pm.

Moteur alimenté à U/f constant

Le moteur est maintenant alimenté par un variateur qui permet de régler la fréquence en maintenant le rapport U/f constant. Pour une fréquence f = 50 Hz, la tension efficace entre phases est U = 415 V.

Sur la figure, on a représenté les variations du moment du couple utile TU en fonction de la fréquence de rotation n à 50 Hz. On rappelle que dans un fonctionnement à U/f constant, la partie utile de la caractéristique TU(n) est assimilable à un segment de droite se déplaçant parallèlement à lui-même lorsque la fréquence de la tension d'alimentation change. Le moteur entraîne une charge qui oppose un couple résistant de moment constant (indépendant de la fréquence de rotation) : TR = 18 N.m.

  1. Quel est l'intérêt d'alimenter le moteur avec ce variateur plutôt qu'avec le réseau ?
  2. Tracer sur la figure la caractéristique mécanique TR(n) de la charge.
  3. La fréquence f est réglée à 25 Hz. Tracer sur la figure la caractéristique mécanique TU du moteur pour une fréquence de 25 Hz.
    - Déterminer la fréquence de rotation. Calculer la tension efficace entre phases.
 

corrigé
Le voltmètre 1 mesure la valeur efficace U de la tension composée (entre phases) alors que le voltmètre 2 mesure la valeur efficace V de la tension simple (entre phase et neutre) :

V=U / (racine carrée (3) = 415 / 1,732 = 240 V

Les tensions simples et composées du réseau sont des tensions sinusoïdales alternatives. Leur valeur moyenne est donc nulle.

Or, en mode DC, on mesure la valeur moyenne d'une tension. Les voltmètres 1 et 2 indiquent donc 0 V.

u12=v1-v2 ; v1 en avance de 2p/3 rad sur v2.

Exploitation des données du constructeur

La fréquence de synchronisme ns, en tr/min, est donnée par : ns= 60 f/p = 50*60/3 = 1000 tr/min

(6 pôles, p = 3 paires de pôles).

Pour le fonctionnement nominal :

PaN= racine carrée (3) U I cos j= 1,732*415*7,1*0,75 = 3,83 kW

h N=PuN / PaN= 3000 / 3830 = 0,783 (78,3%)

TuN= PuN / WN=PuN*60/ (2p hN)= 3000*60 / (2*3,14*950)=30,2 Nm.

gN=(ns- nN)/ ns =(1000-950)/1000=0,05 (5%)

Bilan des puissances

Pjs = 3rs I2 = 3 * 2,5 * 7,12 = 378 W

Ptr = PaN - Pjs - Pfs = 3,83 103 - 378 - 210 = 3,24 kW

Pjr = g Ptr = 0,05 * 3,24 103 = 162 W

Pm = Ptr - Pu - Pjr = 3,24 103 - 3 103 - 162 = 78 W

Moteur alimenté à U/f constant

La vitesse de rotation d'un moteur asynchrone est proportionnelle à la fréquence des tensions d'alimentation. Avec le réseau, la fréquence est fixe (f = 50 Hz) et la vitesse du moteur ne peut donc varier. Avec un onduleur, on peut faire varier la vitesse du moteur par action sur f. Le maintient du rapport U/f constant permet de maintenir le couple constant.

La fréquence f est réglée à 25 Hz.

A f = 25 Hz, la nouvelle fréquence de synchronisme est n= 60 f/p = 60*25/3=500 tr/min

La nouvelle caractéristique mécanique est parallèle à la précédente et passe par le point (n = 500 ; Tu = 0).

Graphiquement, on lit que la nouvelle fréquence de rotation du moteur est n = 470 tr/min.

U/f = constante donc U= 415*25/ 50 = 208 V.



Onduleur

On étudie le fonctionnement d'un onduleur à deux interrupteurs. Ce type de convertisseur est notamment utilisé dans certains appareils de cuisson à induction.

Etude de la tension

Le schéma montre la structure générale du montage. E = 200 V.

  1. Quelle est l'expression de la tension u quand l'interrupteur K1 est fermé et l'interrupteur K2 ouvert ?
  2. Quelle est l'expression de la tension u quand l'interrupteur K1 est ouvert et l'interrupteur K2 fermé ?
  3. Pourquoi ne doit-on jamais fermer K1 et K2 simultanément ?
  4. On étudie le fonctionnement du montage sur deux périodes. A tout moment, un interrupteur est fermé et l'autre est ouvert. Sur le document réponse, on indique l'interrupteur fermé. Tracer le chronogramme de la tension u sur le document réponse.
  5. Calculer la fréquence de la tension u.
  6. Quelle est la valeur efficace de la tension u ?

Etude des courants

En fait, chaque interrupteur est composé d'une diode et d'un transistor :- K1 est constitué de T1 et D1,- K2 est constitué de T2 et D2. Ces composants fonctionnent en commutation, ils sont supposés parfaits.

  1. On suppose que l'interrupteur K1 est fermé. Quel composant (T1 ou D1 ) est passant quand l'intensité i du courant est positive ? Quel composant (T1 ou D1 ) est passant quand cette intensité i est négative ?
  2. Sur le document réponse, on donne le chronogramme de l'intensité i. En complétant le tableau prévu à cet effet, indiquer le composant passant pour chacun des intervalles de temps délimités. Tracer les chronogrammes des intensités iT1 et iD1

corrigé
Etude de la tension

Lorsque K1 est fermé, K2 ouvert, u=E

Lorsque K1 est ouvert et K2 fermé, u= -E

K1 et K2 sont fermés simultanément, les deux sources de tension E sont court-circuitées.

Graphiquement, T = 0,06 ms donc f = 1/ T= 1/ 0,06 10-3 = 16,7 kHz.

La valeur efficace de la tension u est u= E= 200 V.

Etude des courants

On suppose que l'interrupteur K1 est fermé.

Quand i est positive, c'est le transistor T1 qui est passant.

Quand i est négative, c'est la diode D1 qui est passante.

Lorsque T1 conduit, iT1 = i sinon iT1 = 0

Lorsque D1 conduit, iD1 = -i sinon iD1 = 0


retour -menu